CLT/A型旋風除塵器,是由旋風筒體,集灰斗和蝸殼三部分組成,按筒體個數區(qū)分,有單筒,雙筒,三筒,六筒等五種組合,該種旋風除塵器具有阻力小,除塵效率高,處理風量大,性能穩(wěn)定,結構簡單,實用廉價等特點.適用于各種機械加工,冶金建材,礦山采掘的粉塵粗,中級凈化.
服務電話:13091153069(同微信)
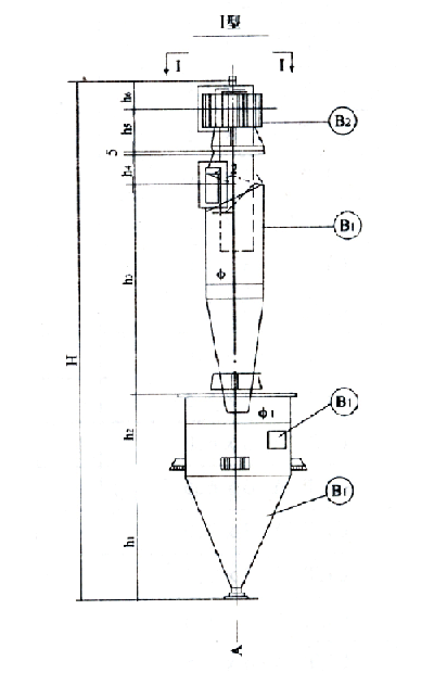
一、簡介
該種除塵器,是由旋風筒體,集灰斗和蝸殼(或集風帽)三部分組成,按筒體個數區(qū)分,有單筒,雙筒,三筒,六筒等五種組合,每種組合有兩種出風形式:Ⅰ型水平出風和Ⅱ型(上部出風)。對于Ⅰ型雙筒組合者,另有正中進出風和旁側進出風兩種組合形式,Ⅰ型單筒和三筒只有旁側時出風一種形式,四筒和六筒組合則只有正中進出風形式,對于二型各種組合,可采用上述Ⅰ型中的任意一種進風位置,該種除塵設備具有阻力小,除塵效率高,處理風量大,性能穩(wěn)定,占地面積小結構簡單,實用廉價等特點。適用于各種機械加工,冶金建材,礦山采掘的粉塵粗、中級凈化。
二、技術性能
型號
|
處理風量(m3/h)
|
設備阻力(mmH2O)
|
除塵效率(%)
|
CLT/A-3.0
|
670-1000
|
86-195
|
85-90
|
CLT/A-3.5
|
910-1360
|
||
CLT/A-4.0
|
1180-1780
|
||
CLT/A-4.5
|
1500-2250
|
||
CLT/A-5.0
|
1860-2780
|
||
CLT/A-5.5
|
2240-3360
|
||
CLT/A-6.0
|
2670-4000
|
||
CLT/A-6.5
|
3130-4700
|
||
CLT/A-7.0
|
3630-5440
|
||
CLT/A-7.5
|
4170-6250
|
||
CLT/A-8.0
|
4750-7130
|
||
CLT/A-2×3.0
|
1340-2000
|
||
CLT/A-2×3.5
|
1820-2720
|
||
CLT/A-2×4.0
|
2360-3560
|
||
CLT/A-2×4.5
|
3000-4500
|
||
CLT/A-2×5.0
|
3720-5560
|
||
CLT/A-2×5.5
|
4480-6720
|
||
CLT/A-2×6.0
|
5340-800
|
||
CLT/A-2×6.5
|
6260-9400
|
||
CLT/A-2×7.0
|
7260-10880
|
||
CLT/A-2×7.5
|
8340-12500
|
||
CLT/A-2×8.0
|
9500-14260
|
||
CLT/A-3×3.5
|
2730-4080
|
||
CLT/A-3×4.0
|
3540-5340
|
||
CLT/A-3×4.5
|
4500-6750
|
||
CLT/A-3×5.0
|
5580-8340
|
||
CLT/A-3×5.5
|
6720-10080
|
||
CLT/A-3×6.0
|
8010-12000
|
||
CLT/A-3×6.5
|
9390-14100
|
||
CLT/A-3×7.0
|
10890-16320
|
||
CLT/A-3×7.5
|
12510-18750
|
||
CLT/A-3×8.0
|
14250-21290
|
||
CLT/A-4×3.5
|
2640-5440
|
||
CLT/A-4×4.0
|
4720-7120
|
||
CLT/A-4×4.5
|
6000-9000
|
||
CLT/A-4×5.0
|
7440-11120
|
||
CLT/A-4×5.5
|
8960-13440
|
||
CLT/A-4×6.0
|
10680-16000
|
||
CLT/A-4×6.5
|
12520-18800
|
||
CLT/A-4×7.0
|
14520-21760
|
||
CLT/A-4×7.5
|
16680-25000
|
||
CLT/A-4×8.0
|
19000-28500
|
||
CLT/A-6×4.0
|
7080-10680
|
||
CLT/A-6×4.5
|
9000-13500
|
||
CLT/A-6×5.0
|
11160-16680
|
||
CLT/A-6×5.5
|
13440-20160
|
||
CLT/A-6×6.0
|
16020-24000
|
||
CLT/A-6×6.5
|
18780-28200
|
||
CLT/A-6×7.0
|
21780-32640
|
||
CLT/A-6×7.5
|
25020-37500
|
||
CLT/A-6×8.0
|
2850-42780
|